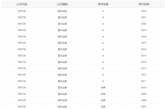
近日,深圳证券交易所公布深市上市公司2022-2023年度信息披露评价结果,公司2022-2023年度信息披露考核结果为A,这也是公司2007年上市以来连续第16年信息披露被深交所评为最高等级,充分体现了监管部门对公司自上市以来信息披露的规范性及有效性、投资者关系维护、履行社会责任等方面的高度认可。

信息披露是公司对外揭示价值的重要渠道,也是投资者作出投资判断和决策的基本依据。2023年,深交所全面改革细化评价标准规则,进一步优化了信息披露的评价标准。本次评价是深交所2023年8月修订《上市公司自律监管指引第11号——信息披露工作评价》后,实施的首次上市公司信息披露评价,评价期间涵盖2022年7月1日至2023年6月30日。值得注意的是,为与注册制审核机制衔接,加大对评价结果为A类公司的支持力度,对于评价结果为A的公司,深交所重组审核机构及再融资审核机构依据相关规定可以减少问询轮次或者不进行审核问询。根据统计,此次共有2,712家上市公司参加评议,评价结果为A的上市公司共有485家,占比17.88%。同时,根据致远速联统计,信息披露自2007年以来连续16年被评A的深市上市公司仅有国元证券1家。 上市以来,国元证券高度重视信息披露工作,秉承“工匠精神”,不断强化提高信息披露合规性,始终坚持真实、准确的原则,不夸大事实,不隐瞒真相,让每位投资者都能够公平、真实地了解公司的经营状况和发展前景,同时夯实投资者关系管理基础,实行科学有效的分红政策,积极与各类投资者保持良好的沟通,通过接待非银分析师调研、举办业绩说明会等手段传递公司价值,有效提升公司的透明度和公信力,增强投资者对公司的信任感和认可度。未来,公司将以信息披露十六连A为新起点,继续坚持规范运作,以投资者需求为导向,高水平和严要求进行信息披露,真实、准确、完整地向投资者传递公司信息,塑造公司优质的资本市场品牌形象,助力资本市场健康、可持续、高质量发展。